“苏集创”是依托苏州大学国家技术转移中心(苏州大学知识产权运营中心),紧密围绕苏州产业创新集群布局,以苏州大学等国内外知名高校、科研院所、技术创新中心的集成创新成果为标的,构建科技、产业、资本深度融合的成果发布平台。
本期向大家推介的是苏州大学物理科学与技术学院苏晓东教授团队的项目:用于污水处理的光降解净化装置
苏晓东教授,苏州大学物理科学与技术学院教授、博士生导师,主要研究方向:新型光伏材料与器件、多功能光电薄膜材料与器件、纳米金属颗粒的制备与应用等。
技术成熟度:研制
应用产业领域:能源环保
专利情况:已授权
成果简介:
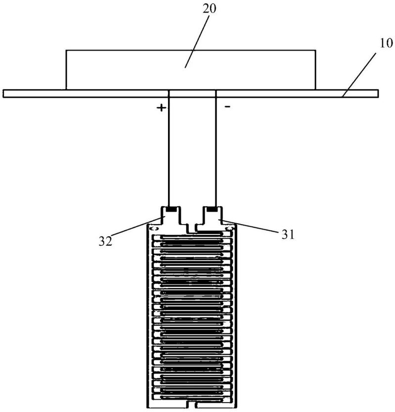
本实用新型公开了一种用于污水处理的光降解净化装置,所述光降解净化装置包括漂浮板(下图10)、固定安装于漂浮板上的光电转换组件、位于漂浮板下方且分别与光电转换组件(下图20)的正极和负极通过电连接线电性连接的第一电极(下图31)和第二电极(下图32),所述漂浮板漂浮于污水上,第一电极和第二电极位于污水内,所述第一电极和第二电极呈梳状交叉分布,且第一电极和/或第二电极为钛‑二氧化钛肖特基异质结电极,钛‑二氧化钛肖特基异质结电极包括钛片及形成于钛片表面的二氧化钛氧化层。本实用新型将电极优化为梳状结构,不仅可以提高空间利用率降低成本,还可以增加电极与污水的接触面积,从而能够提高电极上的反应速率,进一步提高光降解净化效率。

一种用于污水处理的光降解净化装置
创新要点:
一种用于污水处理的光降解净化装置,其特征在于,所述光降解净化装置包括漂浮板、固定安装于漂浮板上的光电转换组件、位于漂浮板下方且分别与光电转换组件的正极和负极通过电连接线电性连接的第一电极和第二电极,所述漂浮板漂浮于污水上,第一电极和第二电极位于污水内,所述第一电极和第二电极呈梳状交叉分布,且第一电极和/或第二电极为钛-二氧化钛肖特基异质结电极,钛-二氧化钛肖特基异质结电极包括钛片及形成于钛片表面的二氧化钛氧化层。
技术指标:
电极制备成梳状后将大大增大电极与污水的的接触面积,即比表面积,梳状电极与先前的片状电极相比,同等体积下,与污水的接触面积增加了10%~20%,整体光降解净化效率能够提升10%~20%。
其他说明:
自1972年TiO 2半导体电极的光催化水分解现象被发现以来,半导体光催化领域就得到了广泛的关注和飞速的发展。早在20世纪70年代后期,就有人开始着手光催化在环境保护和治理上的应用研究,并通过TiO 2悬浮液在紫外线的照射下成功光降解多氯联苯和氰化物,这项工作被认为是光催化在消除环境污染物方面首创性的研究。80年代初,多项光催化在消除空气和水中有机污染物方面取得重要的进展,成为多相光催化的一个重要的应用领域。以半导体氧化物为催化剂的多相光催化过程具有水解制氢、CO 2还原、氧化分解有机污染物、还原重金属离子、防腐、杀菌、除臭等多方面功能。最近几年,利用纳米二氧化钛光催化剂成膜后的光催化活性和超亲水性,来研制和开发具有光催化性能和自清洁功能的纳米光催化膜功能材料,这给纳米光催化技术的基础研究和开发应用注入了新的活力。
TiO 2粉末或薄膜用于光催化水分解时,使用寿命低,耐久性不好,TiO 2的带隙只能吸收紫外光导致光源利用不充分。
在太阳能电池方面,自1954年美国贝尔实验室研制成功光电转换效率6%的实用性单晶硅太阳能电池以来,太阳能光电研究和应用取得了许多重大的发展,例如,与单晶硅材料相比,价格低廉的利用铸造方法制备的铸造多晶硅材料的应用、带状多晶硅材料的生产、低成本的丝网印刷等技术的实用新型都大大推动了太阳能光电技术的研究和进展。目前,多晶硅太阳能电池产业化效率已超过18%,实验室转换效率超过24%。
申请人已经针对光降解净化装置申请了专利(201611016211.X),虽然其可以对污水进行光降解净化,但当污水量较大时净化效率仍然较低。
针对上述技术问题,有必要提供一种用于污水处理的光降解净化装置。

